
一、簡介
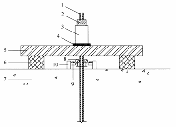
錨桿(索)是一種錨固技術,通過桿體將表層不穩定巖土體的荷載傳遞至巖土體深部穩定位置,從而實現被加固巖土體的穩定,當采用鋼絞線或高強鋼絲束作桿體材料時可稱為錨索,廣泛用于邊坡支擋、基坑支護等圍護支擋結構中。

圖1 錨桿(錨索)示意圖
二、檢測標準
1.CECS 22:2005《巖土錨桿(索)技術規程》;
2.GB 50086-2015《巖土錨桿與噴射混凝土支護工程技術規范》;
3.GB 50330-2013《建筑邊坡工程技術規范》;
4.JGJ/T 401-2017《錨桿檢測與監測技術規程》;
5.TB 10025-2019《鐵路路基支擋結構設計規范》;
6.TB 10450-2020《鐵路路基支檔結構檢測規程》;
7.JGJ 476-2019《建筑工程抗浮技術標準》;
8.GB 50007-2011《建筑地基基礎設計規范》;
9.GB 50497-2019《建筑基坑工程監測技術標準》;
10.GB 50739-2011《復合土釘墻基坑支護技術規范》;
11.JTG D30-2015《公路路基設計規范》;
12.JGJ 120-2012《建筑基坑支護技術規程》;
三、試驗類型
錨桿(索)試驗包括錨桿(索)的基本試驗、蠕變試驗和驗收試驗。
基本試驗:工程錨桿正式施工前,為確定錨桿設計參數和施工工藝,在現場進行的錨桿極限抗拔承載力試驗,錨桿(錨索)基本試驗應采用多循環張拉方式。
蠕變試驗:確定錨桿在不同加荷等級的恒定荷載作用下位移隨時間變化規律的試驗。
驗收試驗:檢驗工程錨桿抗拔承載力是否符合設計要求而進行的錨桿抗拔試驗。
四、錨桿試驗
因錨桿(索)承載力及變形檢測涉及規范較多,規范間存在差異,試驗過程中依據設計文件及現場情況選用,這里僅以TB 10025-2019《鐵路路基支擋結構設計規范》對鐵路工程中錨桿承載力試驗及變形檢測進行說明。
1.檢測時間要求
錨固體強度達到設計強度90%后方可進行試驗。
2.檢測數量要求
基本試驗的數量可按工作錨桿數量的3%控制,且不應小于3根,當有特殊情況可適當增加。
蠕變試驗一般檢測數量不得少于3根。
驗收試驗的數量一般按錨桿總數的5%且不小于5根控制。
3.試驗荷載控制
基本試驗:一般依據桿體屈服強度標準值的0.9倍或者其極限強度標準值的0.85倍控制。
蠕變試驗:最大加荷等級取錨桿(索)軸向拉力的1.5倍。
驗收試驗:荷載對永久性錨桿(索)應取錨桿(索)軸向拉力的1.5倍,對臨時性錨桿取1.2倍。
4.試驗加荷裝置
錨桿試驗加載反力裝置根據試驗條件選擇支座橫梁反力裝置、支撐凳式反力裝置、承壓板式反力裝置。

注:1-試驗錨桿;2-工具錨;3-穿心式千斤頂;4-墊板;5-主梁:6-反力支座;7-墊層;8-位移測量儀表;9-基準梁;10-基準樁
圖2 支座橫梁反力裝置示意圖

注:1-試驗錨桿或土釘;2-工具錨;3-穿心式千斤頂;4-墊板;5-支撐凳;6-噴射混凝土面層、土層;7基準梁與基準
圖3 支撐凳式反力裝置示意圖

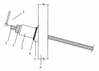
注:1-試驗錨桿;2-工具錨;3-穿心式千斤頂;4-承壓板;5-腰梁或臺座;6-支擋結構;7-位移測量裝置
圖4 承壓板式反力裝置示意圖
5.試驗加、卸載要求
錨桿基本試驗:
錨桿基本試驗應采用多循環張拉方式進行,具體如下:
①每級荷載施加或卸除完畢后,應立即測讀變形量。
②在每級加荷等級觀測時間內,測讀位移不應少于3次,每級荷載穩定標準為3次百分表讀數的累計變位量不超過0.10mm;穩定后即可加下一級荷載。
③在每級卸荷時間內,應測讀錨頭位移2次,荷載全部卸除后,再測讀2~3次。
④加、卸荷等級、測讀間隔時間宜按表1確定。
表1 錨桿基本試驗循環加卸荷等級與位移觀測間隔時間
|
加荷標準 循環數 |
預估破壞荷載的百分數( %) |
||||||||||||
|
每級加載量 |
累計加載量 |
每級卸載量 |
|||||||||||
|
第一循環 |
10 |
20 |
20 |
-- |
-- |
-- |
50 |
-- |
-- |
-- |
20 |
20 |
10 |
|
第二循環 |
10 |
20 |
20 |
20 |
-- |
-- |
70 |
-- |
-- |
20 |
20 |
20 |
10 |
|
第三循環 |
10 |
20 |
20 |
20 |
20 |
-- |
90 |
-- |
20 |
20 |
20 |
20 |
10 |
|
第四循環 |
10 |
20 |
20 |
20 |
20 |
10 |
100 |
10 |
20 |
20 |
20 |
20 |
10 |
|
觀測時間(min) |
5 |
5 |
5 |
5 |
5 |
5 |
-- |
5 |
5 |
5 |
5 |
5 |
5 |
錨桿蠕變試驗
錨桿(索)蠕變試驗的加荷等級和觀測時間應滿足表2規定,在觀測時間內荷載應保持恒定。
表2 錨桿(索)蠕變試驗的加荷等級和觀測時間
|
加荷等級 |
觀測時間(min) |
|
|
永久性錨桿 |
臨時性錨桿 |
|
|
0.25倍軸向拉力 |
10 |
- |
|
0.50倍軸向拉力 |
30 |
10 |
|
0.75倍軸向拉力 |
60 |
30 |
|
1.00倍軸向拉力 |
120 |
60 |
|
1.20倍軸向拉力 |
240 |
120 |
|
1.50倍軸向拉力 |
360 |
240 |
在每級荷載下按時間間隔1min、2min、3 min、4 min、5 min 、10 min、15 min、20 min、30 min、45 min、60 min、75 min、90 min、120 min、150 min、180 min、210 min、240 min、270 min、300 min、330 min、360 min 記錄蠕變量。
錨桿驗收試驗:
①多循環加卸載法
錨桿(索)多循環驗收試驗的初始荷載宜為驗收試驗荷載的0.1倍,各級持荷時間宜為10min,具體見圖5。

圖5 錨桿(索)多循環張拉驗收試驗加荷、持荷和卸荷模式
②單循環加卸載法
錨桿單循環張拉驗收試驗加荷、持荷和卸荷模式(圖6)的初始荷載宜為驗收試驗荷載的0.1倍,最大試驗荷載的持荷時間不宜小于5min。

圖6 錨桿(索)單循環張拉驗收試驗加荷、持荷和卸荷模式
最大試驗荷載作用下,在規定的持荷時間內錨桿的位移增量應小于1.00mm,不能滿足時,則增加持荷時間至60min,錨桿累計位移增量應小于2.00mm。卸荷到驗收試驗荷載的0.1倍并測出錨頭位移;
6.終止加載條件
錨桿(索)試驗中出現下列情況之一時可視為破壞,應終止加載:
①錨頭位移不收斂,錨固體從巖土層中拔出或錨桿(索)從錨固體中拔出。
②錨頭總位移量超過設計允許值。
③土層錨桿(索)試驗中后一級荷載產生的錨頭位移增量超過上一級荷載位移增量的2倍。
以下是一些實際應用場景示例:
圖7 某塌落整治工程錨索承載力檢測
圖8 某邊坡防護工程錨桿承載力檢測
結語
錨桿(索)作為巖土工程中的重要支護構件,其承載力和變形性能的檢測對于確保工程的安全性及穩定性具有至關重要的意義,在巖土工程的設計、施工和維護過程中,需重視錨桿(索)承載力及變形檢測工作。
©版權所有:中鋼集團鄭州金屬制品研究院股份有限公司 地址:河南省鄭州市高新技術產業開發區化工路172號 | 免責聲明 豫ICP備09000825號-3